新宝会

搜索
新闻中心banner
Announcement / 通知通告

高新区公租房资格审核通过名单

宣布时间:2024-09-06 16:18:44 来源:本站点击率:

2024.9.2


创智汇1号栋.png

尖山印象1号栋.jpg

尖山印象一期.png


一、以上申请高新区公租房小区的单位及人员已经通过初审、复审审核,公示时间为7天,请于公示期截止后携带纸质申请表格及申请资料(复印件需加盖公章)到长沙高新区公租佃农服效劳中心治理后续手续,逾期将不予受理。

二、首次治理公租房申请的单位可拨打以下电话与公租佃农服中心事情人员联系咨询后续相关治理事宜。(创智汇:88222826;尖山印象:88460511、88460917;麓城印象:88840068)。


2024.9.3


创智汇1号栋.png

尖山印象1号栋.jpg

尖山印象一期.png

麓城印象.png


一、以上申请高新区公租房小区的单位及人员已经通过初审、复审审核,公示时间为7天,请于公示期截止后携带纸质申请表格及申请资料(复印件需加盖公章)到长沙高新区公租佃农服效劳中心治理后续手续,逾期将不予受理。

二、首次治理公租房申请的单位可拨打以下电话与公租佃农服中心事情人员联系咨询后续相关治理事宜。(创智汇:88222826;尖山印象:88460511、88460917;麓城印象:88840068)。


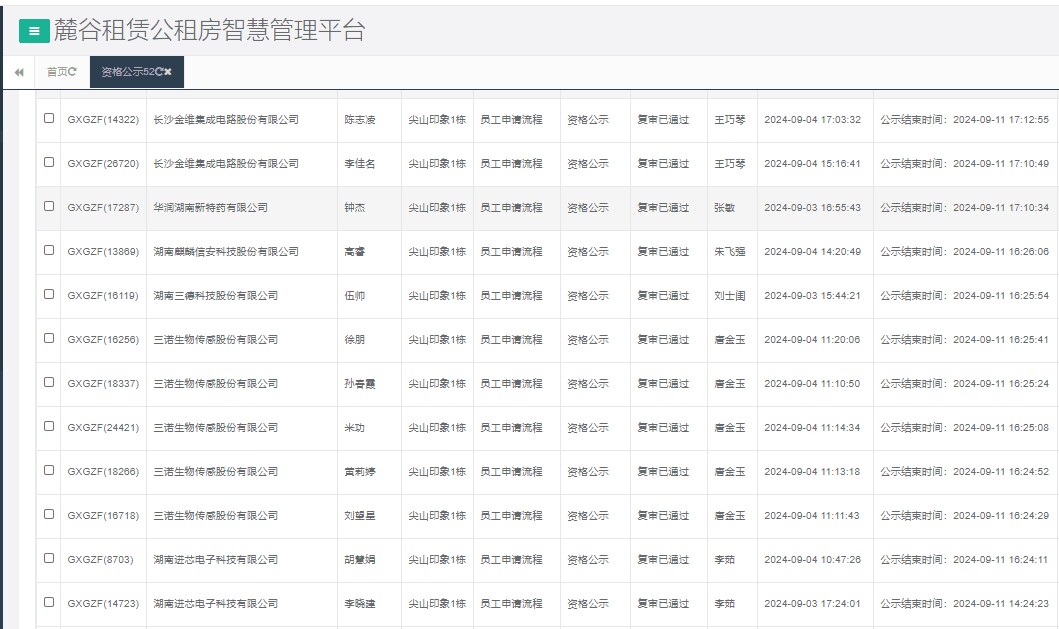
2024.9.4


创智汇1号栋.png

尖山印象1号栋.png

尖山印象一期.jpg

麓城印象.png


一、以上申请高新区公租房小区的单位及人员已经通过初审、复审审核,公示时间为7天,请于公示期截止后携带纸质申请表格及申请资料(复印件需加盖公章)到长沙高新区公租佃农服效劳中心治理后续手续,逾期将不予受理。

二、首次治理公租房申请的单位可拨打以下电话与公租佃农服中心事情人员联系咨询后续相关治理事宜。(创智汇:88222826;尖山印象:88460511、88460917;麓城印象:88840068)。


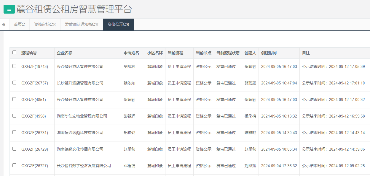
2024.9.5


创智汇1号栋.png

尖山印象1号栋.png

尖山印象一期.png

麓城印象.png


一、以上申请高新区公租房小区的单位及人员已经通过初审、复审审核,公示时间为7天,请于公示期截止后携带纸质申请表格及申请资料(复印件需加盖公章)到长沙高新区公租佃农服效劳中心治理后续手续,逾期将不予受理。

二、首次治理公租房申请的单位可拨打以下电话与公租佃农服中心事情人员联系咨询后续相关治理事宜。(创智汇:88222826;尖山印象:88460511、88460917;麓城印象:88840068)。


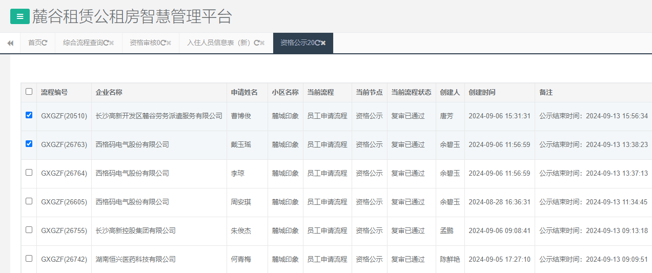
2024.9.6


创智汇1号栋.png

尖山印象1号栋.png

尖山印象一期.png

麓城印象.png


一、以上申请高新区公租房小区的单位及人员已经通过初审、复审审核,公示时间为7天,请于公示期截止后携带纸质申请表格及申请资料(复印件需加盖公章)到长沙高新区公租佃农服效劳中心治理后续手续,逾期将不予受理。

二、首次治理公租房申请的单位可拨打以下电话与公租佃农服中心事情人员联系咨询后续相关治理事宜。(创智汇:88222826;尖山印象:88460511、88460917;麓城印象:88840068)。


标签: 暂无标签
网站地图